Termostat TH 143

Termostaty řady TH140 jsou teplotně závislé jednopólové spínače, konstruované pro regulaci teplot v kapal­ném prostředí. Jsou vhodné pro regulaci při teplo­vodním vytápění, u lisovacích forem na gumu a ter­moplasty, dále k regulaci a hlášení teplot vodních nebo olejových lázní apod. Základem termostatů je spolehlivý mechanický systém, který nemá žádnou vlastní spotřebu energie. Termostaty se vyzna­čují vysokou odolností proti mechanickému poškození a nízkými náklady na provoz a údržbu.

Popis
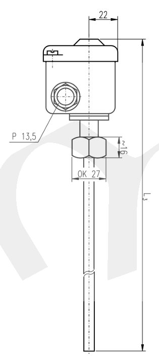
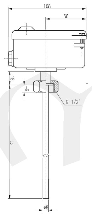
Teplotně citlivý element je stonek termostatu, tvořený u TH140 a TH143 dilatující mosaznou, u TH141 a TH144 antikorozní trubkou. Teplotní dilatace trubky se přenáší invarovou tyčí přes pákový převod na spí­nací mechanismus, který je umístěn v hlavici. Regulační knoflík pro nastavení žádané teplo­ty je rovněž uzavřen v hlavici a lze jej zaaretovat, aby nedošlo (např. vlivem otřesů) k pře­stavení vypínací teploty. Termostat TH140ZP16 je pevně nastaven ve výrobním závodě podle požadavků zákazníka. Pro připevnění termostatu v regulovaném prostředí slouží převlečná matice na stonku termostatu.
Při montáži nesmí být stonek mechanicky namáhán a musí být uložen tak, aby mohl volně dilatovat. Při montáži v kapalném prostředí nutno použít ochran­nou jímku. Termostaty TH140 a TH141 jsou určeny pro stejnosměrné zatížení - přepínací kontakty jsou přemostěny zhášecími kondenzátory. Termostaty TH143 a TH144 jsou určeny pro střídavé zatížení. Termostaty jsou velmi citlivé a odolné. Pracovní polo­ha termostatů je libovolná.

 Technické údaje

Typ

TH140

 TH140 ZP 16

TH141

TH143

TH144

Regulační rozsah

+20÷140 °C

+20÷140 °C

+100÷200 °C

+20÷140 °C

+100÷200 °C

Diference spínací teploty

1÷4 K

 4÷12 K

1÷6 K

1÷4 K

1÷6 K

Přesnost nastavení

±10 %

±10 %

±10 %

±10 %

±10 %

Délka stonku
L2 [mm]

350

124

303

350

303

Délka termostatu
L3 [mm]

440

214

393

440

393

Jmenovité napětí, proud

60 V, 1 A ss
120 V, 0,5 A ss

 250 V, 15 A st

60 V, 1 A ss
120 V, 0,5 A ss

250 V, 15 A st

250 V, 15 A st

Hmotnost

0,75 kg

0,70 kg

0,75 kg

0,75 kg

0,75 kg

Krytí / teplota hlavice

IP44 / 0..+120°C

Odolnost vnějším vlivům

hlavice odolná vlivům třídy AB7, AE3, AM1, AN1, BE1

Životnost

100 000 cyklů

Odolnost proti rázům

5g 1÷2 c/s

5g 2÷2,5 c/s

5g 1÷2 c/s

5g 2÷2,5 c/s

5g 1÷2 c/s

Parametry výrobku:

Regulační rozsah +20..+140 °C
Délka stonku 350 mm
Ke stažení: Termostaty_TH140_Eximus.pdf
Cena: 1569 Kč (bez DPH)
Cena: 1899 Kč včetně DPH 21 %
Do košíku

Volitelné příslušenství

Id: 1506,   ID_Pohoda : 365,